炒股就看金麒麟分析师研报,权威,专业,及时,全面,助您挖掘潜力主题机会!
【导读】王健林又被冻结约3亿元股权
中国基金报记者 忆山
天眼查显示,日前,王健林新增1条股权冻结信息,股权所在企业为大连万达商业管理集团股份有限公司(以下简称万达商管集团),被冻结股权数额超3亿元,冻结期限自2025年5月8日至2027年5月7日,执行法院为大连市西岗区人民法院。

累计被冻结股权数额超4.4亿元
截至目前,王健林共有5条股权冻结信息,累计数额超4.4亿元。
具体来看,除前述新增外,2月13日,其持有的万达商管集团960万元股权,以及大连万达集团240万元股权均被冻结;2月11日,其持有的大连合兴投资有限公司7702.8万元股权被冻结;1月,其持有的万达体育有限公司5000万元股权被冻结。

持续抛售资产
近年来,为了缓解债务压力,万达开始持续抛售资产。
继连续出售多个万达广场项目后,今年4月17日,万达酒店发展发布公告称,已与同程旅行等签订买卖协议,拟以24.97亿元的价格向其出售万达酒管100%股权。
万达酒店发展主要业务包括酒店业务和物业业务。其中,酒店业务由万达酒管经营。财报数据显示,2024年,万达酒店发展收益为9.91亿港元,其中酒店营运及管理服务收益达7.24亿港元,占比超七成。这意味着万达酒管是万达酒店发展的核心资产。
万达酒店发展曾表示,此次交易预期所获款项净额为24亿港元,将建议以股息的方式向股东分派全部或大部分所得款项。
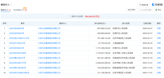
尽管出售了核心资产,但其背后控股股东大连万达集团获得的回笼资金仍难以填补债务窟窿。天眼查显示,截至目前,大连万达集团被执行总金额已超75亿元,累计被冻结股权数额则超160亿元。




发表评论
2025-05-11 19:57:40回复
2025-05-11 22:04:47回复
2025-05-11 23:01:13回复
2025-05-12 00:29:02回复
2025-05-12 02:39:15回复