
人形机器人头部玩家智元机器人又有新消息!
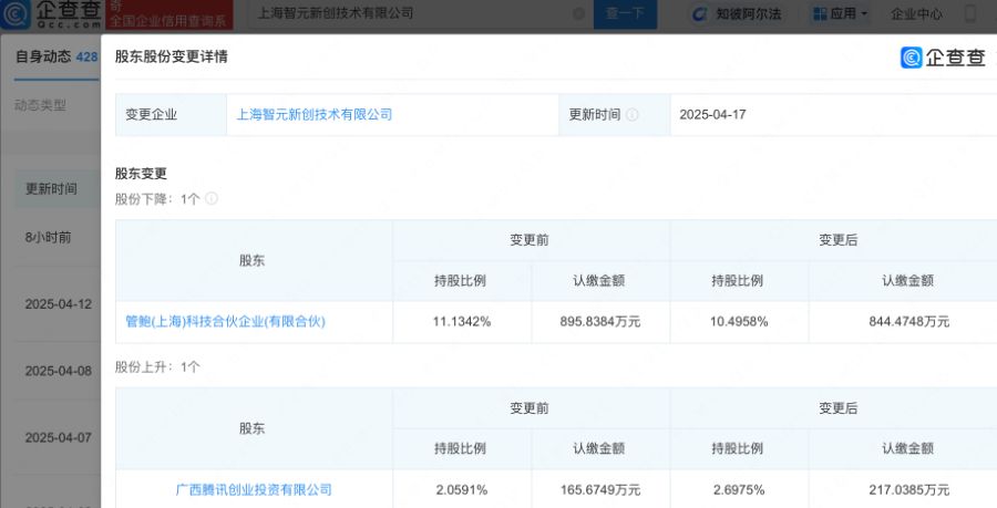
4月17日,南财快讯记者从企查查获悉,近日,智元机器人(AgiBot)关联公司上海智元新创技术有限公司发生工商变更,广西腾讯创业投资有限公司持股比例由约2.06%增加至约2.7%。

值得注意的是,就在半个月之前,腾讯联合多位产业方和老股东对智元机器人进行投资。同时,华为前高管邓泰华接任智元机器人法定代表人,担任公司董事长、CEO。
3月24日,上海智元新创技术有限公司发生工商变更,原股东临港新片区道禾前沿碳中禾(上海)私募投资基金合伙企业(有限合伙)、南京高榕五期一号股权投资合伙企业(有限合伙)等退出,新增广西腾讯创业投资有限公司、卧龙电驱(600580.SH)等为股东。
据了解,此次腾讯领投智元机器人,是该公司首次下场进军具身智能赛道。此外,智元机器人或还在以150亿估值进行新一轮融资接洽。
彼时,据卧龙电驱官微消息,卧龙电驱与上海智元新创技术有限公司顺利完成战略投资签约,正式成为该机器人创新企业的战略股东。受此影响,3月24日收盘,卧龙电驱触及涨停。
公开资料显示,智元机器人是国内知名的机器人品牌,由华为出身“天才少年”彭志辉(智元机器人联合创始人兼CTO稚晖君)联合创立,隶属于上海智元新创技术有限公司。
该公司成立于2023年2月,经营范围包括智能机器人的研发、服务消费机器人销售、人工智能理论与算法软件开发等,现由桑蓬(上海)科技合伙企业(有限合伙)、管鲍(上海)科技合伙企业(有限合伙)等及上述新增股东共同持股。
(声明:文章内容仅供参考,不构成投资建议。投资者据此操作,风险自担。)



发表评论
2025-04-17 20:07:41回复
2025-04-17 21:08:13回复
2025-04-18 00:12:54回复