炒股就看金麒麟分析师研报,权威,专业,及时,全面,助您挖掘潜力主题机会!
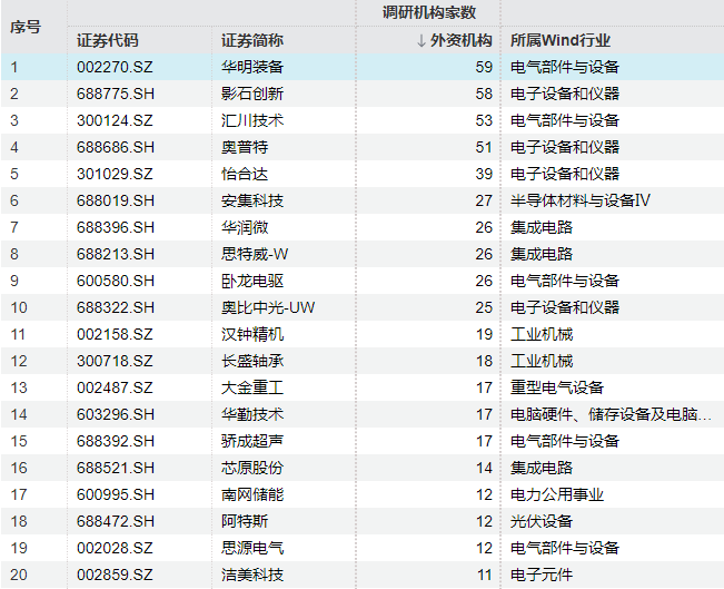
2026年开年以来,外资机构继续积极调研A股上市公司。Wind数据显示,截至2月4日,外资机构年初以来合计调研A股上市公司逾500次。其中,被称为华尔街“最疯狂的赚钱机器”的Point72资产管理公司、摩根资产管理、贝莱德、高盛、摩根士丹利、美银证券等知名对冲基金、资管公司和国际投行均出现在调研名单上。从调研标的来看,华明装备、影石创新和汇川技术位于外资调研榜前三位。
外资调研动向往往被视为市场的“风向标”。Wind数据显示,2026年以来截至2月4日,外资机构合计调研A股上市公司503次。其中,摩根资产管理调研15次,排名首位。在调研名单中,还出现了Point72资产管理公司、贝莱德、高盛、摩根士丹利、美银证券等外资巨头。

由华尔街传奇投资人史蒂夫·科恩创立的Point72,是全球顶尖对冲基金之一。截至2025年末,其管理规模已达415亿美元。Point72在2025年全年斩获17.5%的回报率,实现了连续四年两位数收益,盈利能力与行业话语权稳居全球第一梯队。
作为A股“调研劳模”,Point72资产管理公司在2023年至2025年间连续三年位居外资调研榜榜首,调研次数分别为255次、259次和269次。今年以来,机构调研了晶科科技、奥普特、普冉股份、奥比中光等公司。
Wind数据显示,今年以来,华明装备累计获得59家外资机构调研,在所有公司中位列第一;影石创新和汇川技术分别以58家和53家的调研家数位居第二、第三。此外,奥普特、怡合达、安集科技、华润微、思特威等公司也吸引了超过20家外资机构前来调研。

从调研标的来看,外资机构关注的方向已明显集中于中国高端制造与科技创新两大核心领域。沪上一位第三方分析人士对上海证券报记者表示,当前外资对中国资产的关注点,正从宏观周期波动转向由科技创新与制造业升级所驱动的结构性增长机遇。这些被调研的企业大多处于产业链的关键环节,是推动“中国制造”向“中国智造”转型升级的核心力量。
富达国际亚太区投资总监斯图尔特·朗布尔(Stuart Rumble)表示,过去12至18个月,中国股市的估值一度处于历史低位。虽然短期内市场仍面临波动,但从中期来看,在精准的财政刺激、货币宽松政策以及产业升级政策带动下,市场信心正逐步恢复。目前估值虽有所回升,但仍低于历史平均水平,与全球同类市场相比仍具备吸引力。
“中国科技与创新领域蕴藏着广阔的机会。其中,DeepSeek正是中国长期以来坚持研发投入、坚定走科技创新之路所孕育的标志性成果。此外,创新并不局限于人工智能,还包括机器人、自动驾驶、下一代交通解决方案以及先进制造等多个前沿领域。”斯图尔特·朗布尔称。
展望2026年,摩根士丹利基金经理雷志勇认为,人工智能依旧是未来投资的主线。尽管AI算力基础设施的行情已经演绎了三年,预计其2026年全年增速仍将显著领先于大多数制造业及TMT细分领域,AI算力景气度与确定性依然可期。
“另外,从估值角度看,对比历史上半导体、光伏、电动车等产业代际升级周期中相关企业曾达到的30倍以上估值,当前市场对AI算力板块的估值一致预期在20倍左右,仍处于合理区间。”雷志勇称。



发表评论
2026-02-05 18:14:38回复
2026-02-05 12:48:49回复
2026-02-05 19:12:51回复