来源:小波思基
上周,万科的股票和债券,因为众所周知的原因,经历了剧烈的下跌。
据bo姐了解,某百亿私募创始人在朋友圈紧急道歉,称“我们已经在今日完成了某展期资产的估值市场价调整,令其不再对未来几天几周乃至更长时间产生拖累。虽然这一调整令我们二季度以来的投资收益几近归零,但我们相信这是一件正确的事。”
而在公募这边,在11月26日到11月28日期间也有一批债基跌幅较大:

数据来源于同花顺iFinD,净值截止11月28日,同一产品只取A份额,删除所有产品名称中含可转债字样的产品
跌幅第一的国联金如意双利,11月25日发生了巨额赎回,净值异动主要发生在11月26日。所以产品的异动大概率与万科事件无关。
而跌幅第二的华宸稳健债券,现在被讨论得比较多,很多人猜测它是踩雷了万科债。
从业绩来看,11月27日跌1.77%,11月28日跌3.56%,确实差不多把过去2年积累的收益都跌完了。
这期间,也只有万科债出现了集体下跌,所以这种猜测本身有一定道理。
从这只产品过去买的公司债来看,2018年三季报是持有过康美债的,仓位还比较大。
康美药业大家都知道是造假的上市公司,某种程度上也算是“前科”了。(截自同花顺iFinD)

最新一期的季报来看,华宸稳健持仓债券都是国债,每只占比在7%左右,看不出什么。(截自同花顺iFinD)

从万科债走势来看,26、27日两天万科债闪崩的比较多,而28日走势是分化的,部分万科债有反弹。
如果基金经理确实在三季报后调仓了,且选择组合着买不同的万科债,在此期间又有比较积极的操作,那么可能的情形就太多了。
再考虑到持有人看到27日净值后可能会有恐慌性赎回,现在的信息量还是不足以还原事实全貌的。
在管理人澄清事实之前,大家都只是猜测,只能说踩雷的可能性确实不是没有。
一级债基爆买可转债?

不过,bo姐看了一下跌幅其次的几只产品,发现它们与万科债关系不大,但回撤的真正原因却更加的辣眼睛。
跌幅第三的是金鹰元丰债券。
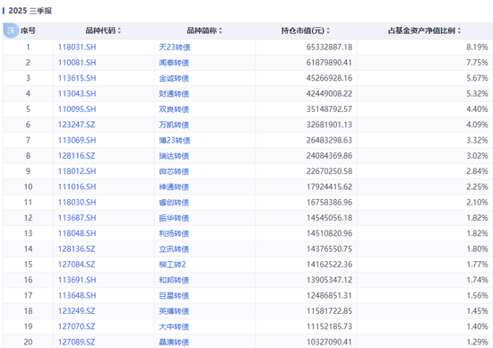
这只产品很有意思,从持仓来看,几乎全部都是可转债:

在一般的认知中,可转债这个标的兼具“股性”与“债性”,债性可保护个债在下跌市道中回调幅度不会太大,股性则可提供正股向上时的个债弹性。
但问题在于,目前可转债整体位置并不低。场内可转债价格中位数在130元左右,平均数在140元以上。
这个价格的转债,基本上没有债性可言,绝大部分时候都体现为“股性”。也就是说,个债与正股的波动特征基本一致,投资转债需要承担与正股相近的波动风险。
以金鹰元丰这只产品的第一大持仓航宇转债为例,该券9月30日收盘价205.325元,今天收盘价240.278元,是典型的股性可转债。
该券11月6日单日涨幅超10%,到11月14日又跌回11月5日收盘价以下。以5%的持仓比例近似估算,单日单券就能对基金净值造成0.5%以上的冲击,整体风险远大于常规的债券型基金。
另外,还有民生加银鑫享、江信汇福、光大保德信中高等级债、长城积极增利、华夏聚利等一级债基,也是大量持有的可转债。
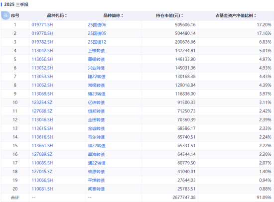
以下是民生加银鑫享的持仓(截自同花顺iFinD):

按照一般认知,一级债基配置可转债的比例通常不超过20%,而三季报显示的可转债持仓比例远超这个数字。
基金经理在三季报中,还表示自己提高了风险偏好,“积极进行波段操作”。

Bo姐同时也对比了一下二、三季报的持仓。
二季报该产品债券持仓中,非转债仅有25国债01一只,占比不到5%。
三季报时,债券持仓中完全没有转债以外的债券。
那么,这与炒股又有什么本质区别呢?
买了这只产品的基民朋友,与买股票型基金又有什么本质区别呢?
还有江信汇福,不仅上周收益为负,年内收益也为负。
它是第一、第二季度都没有配可转债,第三季度却大举配置可转债,前面的肉没怎么吃到,挨打倒是轮上了。(截自同花顺iFinD)


这位基金经理看起来倒也保持着一定的理智,知道“可转债组合构建需要时间”,因此“初期采取银行做底、资源为盾、反内卷为矛”的策略,稍许降低风险。
但这份三季报的投资策略描述,怎么看着那么像股票型基金的写法呢?

风控为何缺失?

今年A股市场表现确实比较好,投资可转债可以令基金的净值有更好的表现。
但绝大多数重点投资可转债的产品,要么在基金名称中直接注明“可转债”字样,要么在基金业绩比较基准中使用更加符合实际情况的中证转债指数。
而民生加银鑫享、江信汇福等产品,业绩比较基准却分别为:中国债券综合指数收益率、同期中国人民银行公布的3个月期定期存款基准利率(税后)*2。
这就可能会对基民朋友产生较大的误导。
这种情况下,基金公司理应通过各种方法,包括但不限于调整基金产品的分类、调整基金产品的业绩比较基准、发风险提示公告等方式提醒基民朋友注意风险。
但这些基金公司的风控部门似乎对此并没有充分地关注。
证监会之前刚刚发布了业绩比较基准的相关指引,提出“业绩比较基准应当体现基金合同约定的核心要素和投资风格”、“基金管理人应当建立全流程内控机制,提高内部决策层级,确保投资风格稳定性。”
这里bo姐也希望这些基金公司能够好好约束自家的基金经理。万一之后市场出现一定的风险,导致净值再度大跌,对基民朋友恐怕是不太好交代的。
总体来说,bo姐今天并没有发现明确持有万科债的债基,倒是碰巧看到了个别一级债基满仓可转债的行为。
Bo姐也是再次给这类债基的持有人提个醒:
现在可转债标的总体来看主要表现为股性,也就是与正股齐涨齐跌。部分个券可能有一定的债性,但总体来看,债性保护作用不大。
万一股市出现新的风险点,这类债基的跌幅可能会比较超预期,基民朋友务必留意回撤风险。



发表评论
2025-12-02 01:29:34回复