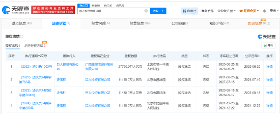
新浪科技讯 7月1日上午消息,天眼查深度风险信息显示,近日,巨人投资有限公司新增一则股权冻结信息,股权所在企业为广西北部湾银行股份有限公司,冻结股权数额约2.77亿人民币,冻结期限自2025年6月25日至2028年6月24日,执行法院为上海市第一中级人民法院。
巨人投资有限公司成立于2001年4月,法定代表人为史玉柱,注册资本约1.17亿人民币,经营范围包括实业投资、投资管理、资产管理等,由史玉柱、牛金华分别持股约97.9%、约2.1%。(罗宁)

新浪科技讯 7月1日上午消息,天眼查深度风险信息显示,近日,巨人投资有限公司新增一则股权冻结信息,股权所在企业为广西北部湾银行股份有限公司,冻结股权数额约2.77亿人民币,冻结期限自2025年6月25日至2028年6月24日,执行法院为上海市第一中级人民法院。
巨人投资有限公司成立于2001年4月,法定代表人为史玉柱,注册资本约1.17亿人民币,经营范围包括实业投资、投资管理、资产管理等,由史玉柱、牛金华分别持股约97.9%、约2.1%。(罗宁)

发表评论
2025-07-01 14:19:23回复